|
公司基本資料信息
![]() |
|||||||||||||||||||||||||||

罐旁顯示儀產品特點:
防爆殼體設計可以用于各種工業現場(已經通過國家防爆認證)
安全等 為SIL3、可以用在各種環境
不需要外加電源,接線方便直接串入4-20mA回路即可實現精準測量
液晶顯示帶綠色背光燈方便在晚上觀看數據
實用范圍:磁致伸縮液位計、雷達液位計、 體化溫度變送器、壓力變送器、氣體報警器等模擬 量標準信號的儀表
罐旁顯示儀產品參數:
精度:0.1%
線制:兩線制
顯示方式:液晶顯示四位半顯示
報警功能:可以設置兩個報警點,低于下限或高于上限報警,閃爍顯示
修正功能:顯示量程及小數點修正功能
環境溫度:-40℃ -80℃
防護等 :IP68
防爆標志 : ExdII+H2 T6GB ExdIICT6
過程連接:G1/2 或標準支架
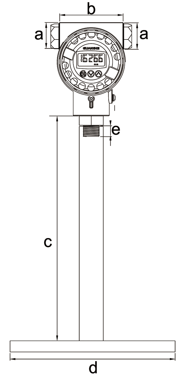
罐旁顯示儀外形安裝尺寸
|
GKYWG-60XⅠ 罐旁顯示儀 正方尺寸 (圖 ) |
|
a=m20×1.5 b=77mm c=470mm d=200mm e=G1/2 |
|
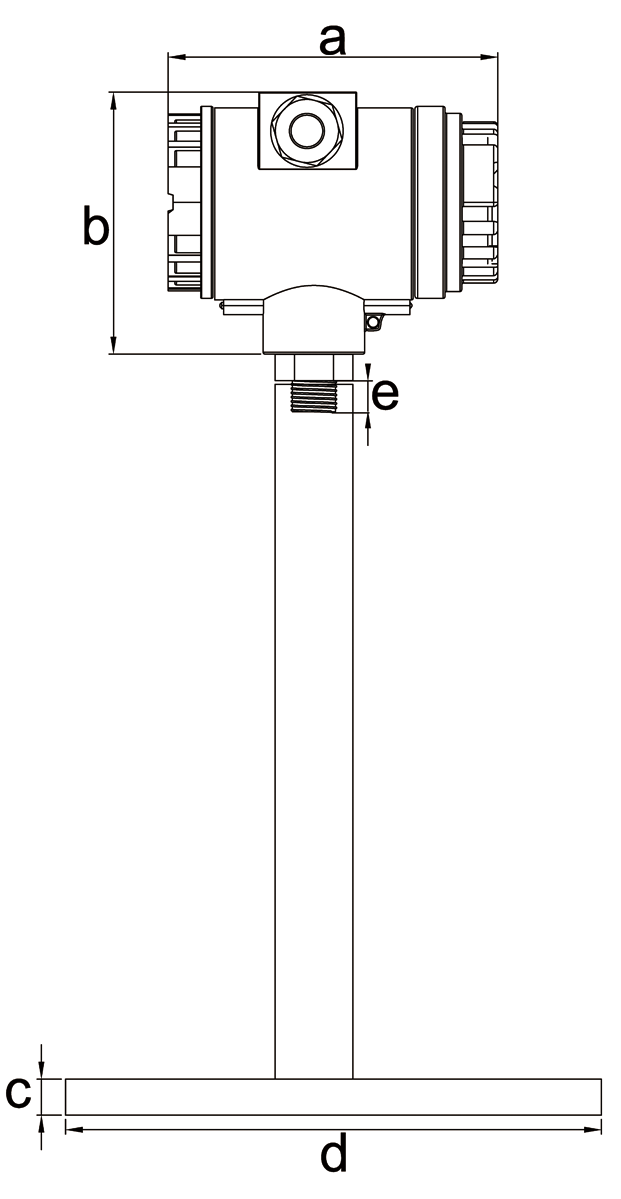
GKYWG-60XⅠ 罐旁顯示儀 側方尺寸 (圖二) |
|
a=100mm b=125mm c=5mm d=200mm e=G1/2 |
安裝示意圖
配置表
|
序號 |
名稱 |
規格型號 |
數量 |
單位 |
提供方 |
|
1 |
罐旁顯示儀 |
GKYWG-60XⅠ |
1 |
臺 |
河北光科 |
|
2 |
罐旁顯示儀支架 |
GKYWG-60XⅠ |
1 |
臺 |
選配 |
|
3 |
液位儀 |
ZKYWG |
1 |
臺 |
選配 |
接線示意圖
1、箭頭1接線4-20mA,進線。
2、箭頭2接線4-20mA,出線。
罐旁顯示儀選型表
|
GKYWG-60XⅠ罐旁顯示儀 |
||||||
|
|
代碼 |
支架 |
||||
|
A |
帶支架 |
|||||
|
B |
不帶支架 |
|||||
|
|
代碼 |
測量參數 |
||||
|
A |
液位 |
|||||
|
B |
溫度 |
|||||
|
C |
壓力 |
|||||
|
D |
其它 |
|||||
|
|
銷售區域 |
|
||||
|
A |
內銷 |
|
||||
|
B |
外銷 |
|
||||
|
|
代碼 |
經辦人可不填 |
||||
|
Xxx |
姓名縮寫 |
|||||
|
GKYWG-60XⅠ |
A |
A |
A |
ZL |
|
|
實例:GKYWG-60XⅠ罐旁顯示儀,A代表,A代表帶支架,A代表液位, A代表內銷ZL代表銷售人員為張亮。