CEL-GPRT100鼎式光催化反應釜,主要用于氣固、氣液光催化反應,可以應用到CO2還原、VOC降解、氣體污染物降解、光催化固氮等多相、均相體系,適用各種催化劑體系,催化劑可以是粉末、液體、膜材料、片狀或塊狀等形態。鼎式光催化反應釜主要配合300W、500W光催化氙燈光源、100W大功率LED光源使用,可以配合CEL-GPPC系列氣相催化系統和GC7920反控氣相色譜搭建氣相光催化反應測試分析系統。


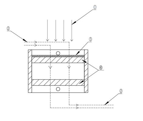
新型的鼎式反應釜可實現,光路1由上向下照射,氣路2由側面進入通過催化劑3、雙層玻璃砂板4,然后從底部排出反應后的氣體,進而采樣進入相應的監測分析設備。
CEL-GPRT100鼎式光催化反應釜產品特點
1.采用法蘭密封結構,拆卸簡單。
2.進出口管路處采用快裝接頭與外部氣路連接,在保證密封的前提下使安裝拆卸更加方便。
3.可以實現定時定量的加入需要的反應氣體。
4.可以實現反應中的在線連續取氣體樣品,配合全自動進樣器,實現無人全自動分析。
5.通光孔采用超硬合成石英,即保證產品的安全,又實現了200-2500nm全光譜透過透光率達95%以上。
6.反應釜標配水路接口,可以根據實驗要求進行加熱或冷卻,使其溫度恒定。
7.反應釜與外部連接處皆為卡套連接,密封好,安裝方便。
技術參數
| 項目 | 參數 |
| CEL-GPRT100 | 鼎式光催化反應釜 |
| 耐壓 | 2MPa |
| 密封 | 法蘭O型圈密封 |
| 通光窗口 | 石英玻璃、直徑52mm |
| 釜體外徑*高度 | 106mm*78mm |
| 釜體材質 | 體成型加工、316L不銹鋼 |
| 釜體夾層控溫 | 可水浴或油浴循環恒溫,10mm接頭 |
| 閥門 | 采用美國anlok針閥、球閥、接頭、管路,3mm管路接頭、快速插拔 接頭 |
| 溫度 | 標配溫度顯示表頭,實時監控反應溫度 |
| 內置 | 氣固反應支架2個;氣液反應配件2個 |



